电磁阀应用
电磁阀工作原理
2021年05月27电磁阀
是用电磁控制的工业设备,是用来控制流体的自动化基础元件,属于执行器;并不限于液压,气动。在我们日常生活中应用十分广泛,首先我们先对电磁阀有个初步的认识,电磁阀是由电磁线圈和磁芯组成,是包含一个或几个孔的阀体。当线圈通电或断电时,磁芯的运转将导致流体通过阀体或被切断,以达到改变流体方向的目的。
电磁阀工作原理
:电磁阀里有密闭的腔,在的不同位置开有通孔,每个孔都通向不同的油管,腔中间是阀,两面是两块电磁铁,哪面的磁铁线圈通电阀体就会被吸引到哪边,通过控制阀体的移动来档住或漏出不同的排油的孔,而进油孔是常开的,液压油就会进入不同的排油管,然后通过油的压力来推动油缸的活塞,活塞又带动活塞杆,活塞竿带动机械装置动。这样通过控制电磁铁的电流就控制了机械运动。
电磁阀按原理分为:直动式、分布直动式、先导式三大类;按结构分为膜片式电磁阀和活塞式电磁阀两类。
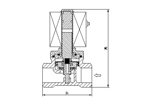
直动式电磁阀工作原理:
通电时,电磁线圈产生电磁力把关闭件从阀座上提起,阀门打开;断电时,电磁力消失,弹簧把关闭件压在阀座上,阀门关闭。

分布直动式电磁阀工作原理:
它是一种直动式和先导式相结合的原理。常闭式---当入口与出口没有压差时,通电后电磁力直接打开先导孔连接主阀活塞依次向上提起,阀门打开;当入口与出口达到启动压差时,通电后,电磁力先打开先导孔,主阀活塞上腔压力下降,从而利用压差和电磁力拉动主活塞,阀口打开;断电时,靠弹簧复位关闭先导孔,主活塞上腔增压,推动主活塞向下移动,阀关闭。常开式与常闭式相反。

先导式电磁阀工作原理:
常闭式---通电时,电磁力吸合先导孔阀芯,先导孔打开,主阀活塞上腔压力下降,在主活塞上腔和下腔形成上低下高的压力,这样下腔压力推动主活塞打开阀门;断电时,弹簧力复位关闭先导孔,主活塞上腔增压,在主活塞上腔和下腔形成上高下低的压力,介质压力和弹簧力推动主活塞,阀关闭。常开式与常闭式相反。

膜片式电磁阀工作原理:
通电时,电磁力把先导孔打开,上腔室压力迅速下降,在关闭件周围形成上低下高的压差,流体压力推动关闭件向上移动,阀门打开;断电时,弹簧力把先导孔关闭,入口压力通过旁通孔迅速腔室在关阀件周围形成下低上高的压差,流体压力推动关闭件向下移动,关闭阀门。

活塞式电磁阀工作原理:
线圈通电后由于吸力作用,动铁芯下移,把副阀阀塞压下,副阀关闭,主阀阀杯内压力上升,当压力升到一定值时,主阀阀杯的上下压差一样,由于电磁力作用,动铁芯失去主阀阀杯下,压紧主阀阀座,阀门关闭。线圈断电时,电磁吸力为零,副阀阀塞和支铁芯由于弹簧作用向上提起,副阀打开,主阀阀杯上的流体经副阀流走,减少了作用在主阀阀杯上的压力,当主阀阀杯上的压力减少到一定值时,利用压差把主阀阀杯推起,主阀打开,介质流通。



